Baudouin запчасти
  • Москва, ул. 7-ая Кожуховская, д. 20, info@baudouin-parts.ru

  • Понедельник - Пятница с 10:00 до 21:00

    В выходные не работаем, но можем ответить на вопрос

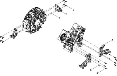
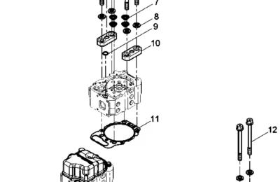
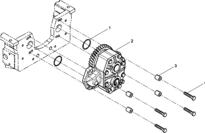
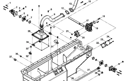
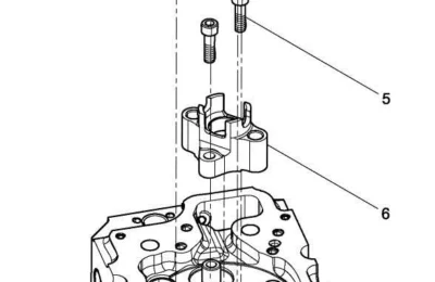
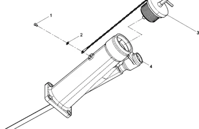
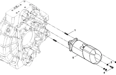
Запчасти на двигатель Baudouin 12M26

Запчасти на двигатель BAUDOUIN 12M26

Мы используем файлы cookie для анализа событий на нашем сайте. Продолжая просмотр сайта, вы принимаете условия использования